联系我们
设为首页
加入收藏
学校首页
部门首页
学工动态
部门简介
通知公告
校团委
团委概况
思想引领
通知公告
团情快讯
实践育人
学生组织
社团阵地
规章制度
下载专区
规章制度
学工动态
学风建设
学生资助
心理健康
一站式学生服务
下载专区
校友工作
新闻动态
校友风采
业务流程
业务流程
部门首页
>
业务流程
>
正文
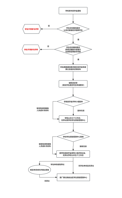
筑梦奖学金业务流程
发布日期:2025-10-11 浏览次数:
筑梦奖学金业务流程
上一篇
下一篇